(2025年6月5日修订)
《中华人民共和国政府信息公开条例》(以下简称《条例》)2019年4月3日中华人民共和国国务院令第711号修订,2019年5月15日起实施。根据《条例》,本机关在履行行政管理职能过程中制作或者获取的,以一定形式记录、保存的信息,除依法免予公开的外,均应予以公开或者依公民、法人和其他组织的申请予以提供。
为了更好地做好政府信息公开服务工作,宿城区应急管理局编制了《宿城区应急管理局信息公开指南》(以下简称《指南》),需要获取本机关政府信息公开服务的公民、法人和其他组织,建议在政府门户网站“宿城区人民政府网”(m.rigasapo.com)“政务公开”栏目上查阅《指南》。
一、主动公开
(一)公开范围
本单位主动向社会免费公开的政务信息范围。向社会主动公开的政府信息范围参见本单位编制的《宿城区应急管理局政府信息公开目录》(以下简称《目录》)。按照相关法律、法规和国家有关规定,涉及国家秘密、商业秘密和个人隐私的政务信息不公开。
(二)公开渠道
1.宿城区人民政府网(//m.rigasapo.com/);
2.政策简明问答专栏;
3.报刊、广播电视等。
同时,公民、法人或其他组织可以在区档案馆政府信息公开集中查阅区(宿迁市宿城区微山湖路文体中心)、区市民服务中心政务公开专区(江苏省宿迁市宿城区吉林路与渤海路交叉处市民服务中心1楼)、各镇街市民服务中心现场查阅并获取相关信息。
二、依申请公开
公民、法人和其他组织需要本单位主动公开以外的政府信息,可以向本单位申请获取。本单位依申请提供信息时,根据掌握该信息的实际状态进行提供,不对信息进行加工、统计、研究、分析或者其他处理。
(一)公开范围
公民、法人和其他组织在《中华人民共和国政府信息公开条例》规定内可依申请的政府信息。
(二)受理机构
本单位受理申请机构为宿城区应急管理局办公室,办公地址为宿城区众安建设大厦1503室,联系电话:0527—82960377,通信地址: 宿城区众安建设大厦1503室(区应急管理局办公室),邮政编码:223800。
(三)提出申请
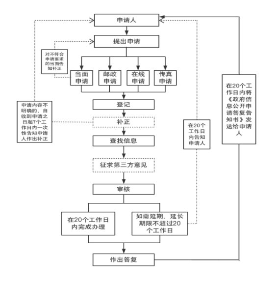
为了提高处理申请的效率,申请人对所需信息的描述请尽量详尽、明确;若有可能,请提供该信息的标题、发布时间、文号或者其他有助于本单位确定信息载体的提示。申请人能够根据《目录》事先确定所需信息的索取号的,本单位将当场答复或者立即答复予以公开。
1、通过互联网提出申请。申请人可以在本单位“政务信息公开”栏目内填写电子版《申请表》在线申请。
2、信函、电报、传真申请。申请人通过信函方式提出申请的,请在信封左下角注明“政府信息公开申请”的字样;申请人通过电报、传真方式提出申请的,请相应注明“政府信息公开申请”的字样。
3、当面申请。申请人可以到宿城区应急管理局办公室当面申请。公民、法人或者其他组织依照规定应当采用书面形式申请;采用书面形式确有困难的,申请人可以口头提出,由受理人代为填写政府信息公开申请。
4、特别程序。申请人申请获取与自身相关的政务信息的,应当持有效身份证件,当面向本单位提交书面申请。
本单位不直接受理通过电话方式提出的申请,但申请人可以通过电话咨询相应的服务业务。
(四)申请处理
本单位收到申请后,将予以登记。除可以当场予以答复的外,自登记之日起15个工作日内进行实质性审查,并根据下列不同情况,做出答复:
1、属于已经公开的政务信息,直接告知申请人获得该政务信息的渠道;
2、属于公开范围但尚未公开的,应向申请人提供该信息,并同时将该信息公开发布;
3、被申请的政务信息中含有不予公开的内容,能够区别处理的,应当提供可以公开的部分。
4、属于不予公开范围的,直接告知申请人;
5、不属于本单位掌握范围的,直接告知申请人,如能够确定掌握该信息机关的,告知联系方式;
6、申请公开的政务信息不存在的,直接告知申请人;
7、申请公开的政务信息内容不明确的,告知申请人更改、补充申请。
申请公开的政务信息涉及商业秘密、个人隐私,公开后可能损害第三方合法权益的,应当书面征求第三方的意见;第三方不同意公开的,不得公开。但是,本单位认为不公开可能对公共利益造成重大影响的,应当予以公开,并将决定公开的政务信息内容和理由书面通知第三方。
因信息资料处理等客观原因或者其他正当理由,经本单位主要负责人同意,可以将作出是否公开的决定的期限延长至30个工作日,但是应当在15个工作日内以书面形式将延长的理由及延长后的期限告知申请人。
三、监督和救济
公民、法人和其他组织认为本机关未按照要求主动公开政府信息或者对政府信息公开申请不依法答复处理的,可以向区政府信息公开工作主管部门提出。
公民、法人和其他组织认为本机关在政府信息公开工作中侵犯其合法权益的,可以向区政府信息公开工作主管部门投诉、举报,也可以依法申请行政复议或者提起行政诉讼。
(一)宿城区政府信息公开工作主管部门
单位名称:宿城区人民政府办公室
联系电话:0527-82960096(工作日)
0527-82960666(周末和节假日)
通讯地址:江苏省宿迁市宿城区成子湖路6号
邮政编码:223800
(二)行政复议
单位名称:宿城区司法局
通讯地址:宿迁市宿城区吉林路与渤海路交叉处市民服务中心东4楼
邮政编码:223800
(三)行政诉讼
单位名称:宿迁经济技术开发区人民法院
通讯地址:江苏省宿迁经济技术开发区苏州东路7号
邮政编码:223800
四、申请公开流程
